投标是建筑公司获得新的工程项目,实现连续性生产和获得利润的重要保证。正是由于投标对于工程建筑公司来说极为重要,因此在这中间也有些相关的烦恼,比如是否为了本公司有多少报名工程、投标工程或是在建工程及竣工工程而烦恼呢?或是与工程项目相关的待办事项怕忘记而苦恼呢?
由于招投标工作具有环节多、专业性强的特点,同时,招标项目都需要在规定时限内完成,如何规范、有效的成招投标工作等等相关问题,泛普软件则基于以上在建筑工程工作当中的这些问题,一个工程投标管理系统就此应运而生了。


一、那么泛普软件对于工程投标的管理给出的解决方案是怎么样的呢?
泛普软件的工程项目管理系统是一套适合建筑施工企业经营管理部门日常招投标管理的软件。主要从工程投标报名到投标结束及工程竣工过程中所涉及到的事项都能灵活记录、修改、查询,通过投标管理,使建筑公司建立简洁明了的市场信息和投标清单条目,帮助用户建立企业过往投标情况、企业投标资源信息资料库等,并对它们进行管理和分析,为投标分析、投标报价和投标决策提供充分的辅助信息。让您全面掌握公司经营过程中的各个环节及细节。
其中系统还包括工程项目管理、介绍信管理、证件管理、日程安排、投标表格、费用管理、相关单位通讯录等模块。
二、那么泛普软件的工程项目管理系统主要包含了哪些核心功能?
1、项目管理:这是泛普软件的工程项目管理系统的核心功能之一,主要实现对项目招投标过程中从准备投标到投标结束所有经过的记录和实施。可以对各个登记,对各个元素查询,对各个元素打印。
重要的是可以对每个工程项目所涉及的待办事项、参与的投标单位、本项目配置的班子、投标过程中发生的费用、开标标录记录、项目所需提交的资料原件等进行详细而准确的记录、查询、打印。强大的报表功能可以自定义编辑各地区不同格式的报表。

2、介绍信管理:部份工程项目需要在报名时一并提交介绍信,平常的手工填写不美观,不专业,现在只需要从项目管理库中直接选择再打印出来,一份漂亮的介绍信就出来了。可以设置直接打印在白纸上也可以设置套打方式打印在已有的介绍信专用信签上。方便的查询方式杜绝一个项目开具出两份介绍信的情况。
3、合同管理:合同是经营管理部门的工作成效,更是企业的生命。合同的登记,查询,打印都可以直接在本模块中完成,最方便的是,一个工程中标后,在登记合同时可以直接从项目库中直接选择中标的工程,而无需再填写相关内容,在设置好合同报表后甚至可以打印出标准的规范正式合同,还可以分类统计筛选出想要的数据
4、档案管理:一个项目招投标完成后不管中标还是未中标都会有很多资料需要存档备案,该功能可以详细记录档案类型,详细内容,保管人员,保存位置等,在需要时能及时准确的找到所需要的档案,还可以保存电子文档到对应档案下,在需要时直接导出就可以使用。

5、财务管理:投标过程中会产生很多不同的费用,有收入也有支出,在这里就可以准确的记录所有产生的费用,系统自动生成一个项目招投标过程中所有费用的总合,让管理者一眼就看出本项目都发生了哪些费用,是赢余还是亏损。
6、投标分析:简单的投标分析功能可以使得企业管理者能分析其它投标单位历史投标报价规律,从中便可揣摩出对手的相关情况而进一步调整自己的策略,让自己的报价更具优势。
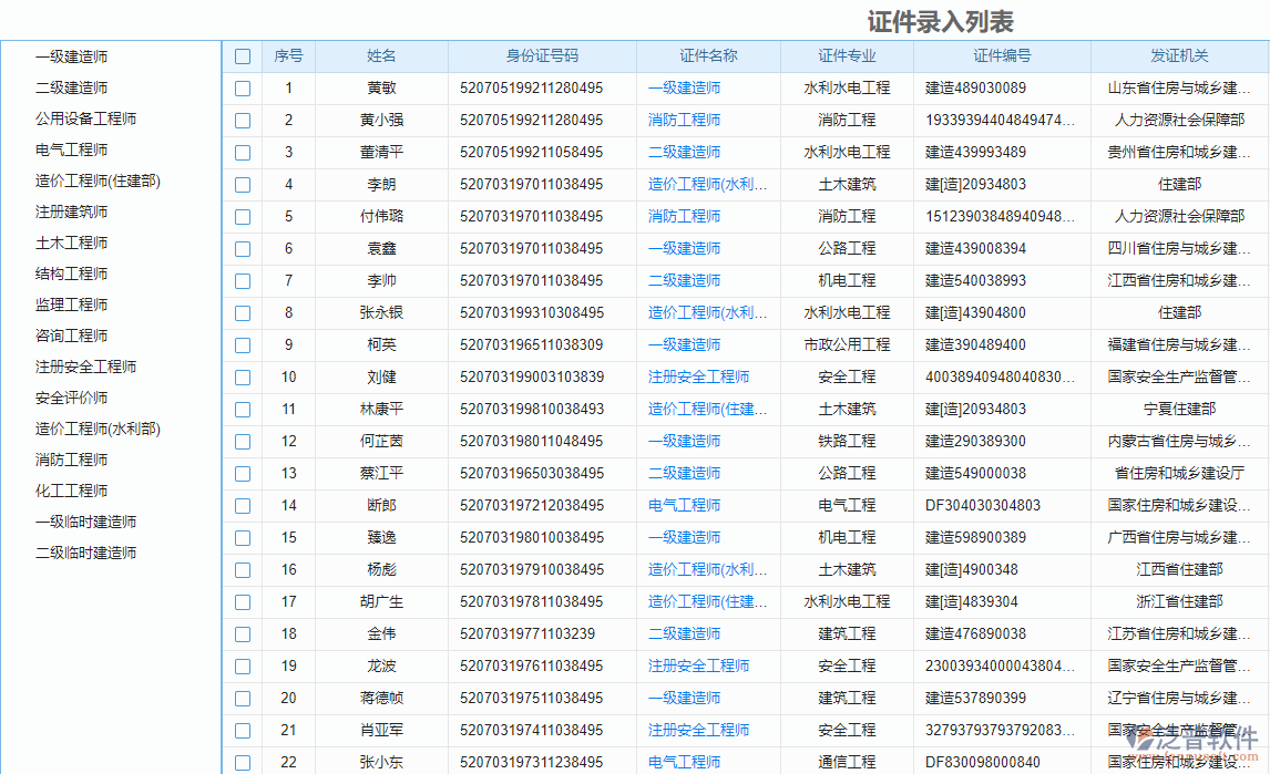
7、证件管理:证书是一个企业的资产,证件的多少也显现出企业的实力。证件管理的好坏也体现一个企业的管理水平。
三、那么在施工企业的证件管理当中是否会出现这些问题:
7.1、对本企业的证书能了然于胸吗?
7.2、是否也是用Excel来管理证书呢?
7.3、是否有不小心履盖误删除呢?

7.4、是否存在多个文件又不知道哪个是最新呢?
7.5、有证件过期了忘记年检而花大量人力物力去补办呢?
以上的这些在工程项目证件管理的过程当中是否想有一个简单又能满足要求的管理软件呢,而泛普软件的工程项目管理系统可以满足施工单位对于证件管理以上的这些需求,该功能正是为了解决这些问题而开发的,除了基本的输入输出、查询统计、备份恢复外,还有证件复印件管理、证书历史培训情况、证书出借情况等。

本文内容来自自互联网公开信息或用户自发贡献,该文观点仅代表作者本人,版权归原作者所有。本站仅提供信息存储空间服务,不拥有所有权,不承担相关法律责任。若发现侵权或违规内容请联系电话4008352114或邮箱442699841@qq.com,核实后本网站将在24小时内删除侵权内容。
添加专属销售顾问
扫码获取一对一服务